ул.Симферопольская
дом 5, офис 9
Корзина
Корзина пуста
Электрокотел своими руками – что для этого необходимо и как сделать? Как своими руками сделать электрокотел
Как сделать электрокотел своими руками: схема, пошаговая видеоинструкция
Вполне действенный способ уменьшить расход электроэнергии – сооружение электрического котла отопления своими руками. Как говорится, глаза боятся, а руки делают. К тому же такие котлы обладают несложно конструкцией. Теплоноситель нагревается в кратчайший срок, а это обеспечивает меньшие затраты на электричество.
Читайте также: Как сделать твердотопливный котел своими руками
Как сделать электрокотел своими руками
Электрокотлы бывают ТЭНовые (классические), индукционные и электродные. В данной статье мы рассмотрим, как соорудить электродный котел. Эта работа требует предельной точности и
внимательности, а главное, четкого следования рекомендациям.
До начала создания собственного электрокотла необходимо определиться со списком деталей и инструментов, которые предстоит использовать в работе:
- стальная труба. По диаметру она должна быть не менее 50 мм и не более 10 мм;
- чтобы иметь возможность подключиться к отопительной системе, придется использовать трубы меньших размеров, чем основная;
- электрод, по материалу аналогичный тому, из которого состоит труба;
- электрод необходимо изолировать. Изоляцию также можно сделать своими руками, но лучше заказать профессиональному токарю;
- провод, который нам понадобится, чтобы совершить подключение к заземлению, и провод для подключения к электросети 220 В;
- для декорирования радиатора понадобится приобрести термостойкую краску.
В процессе установки необходимо использовать аппарат для сварки и ножовку для работ с трубами. Когда все будет в наличии, можно переходить непосредственно к сооружению электрокотла отопления.
В первую очередь необходимо узнать принцип работы данного водонагревателя. Технология довольно несложная. В случае классического электрокотла теплоноситель нагревается при помощи ТЭНа. Нагрев происходит с некоторой задержкой, так как период от включения до начала работы обычно длительный. Работает такой котел по определенному принципу: маленькие трубы, которые служат проводником для теплоносителя, способствуют разогреванию ТЭНа и отопительной системы.
Помните, что использование такого котла нельзя считать в полной мере безопасным. Были случаи, когда ТЭНовые котлы оборачивались для дома трагедией – становились причиной пожара. Но не следует бояться, если речь идет о новых котлах, в которых предусмотрена автоматика регулировки и защиты, не позволяющая привести к таким последствиям. Также во избежание опасности необходимо обратить особое внимание на монтаж.
Электродные котлы имеют свой принцип работы. ТЭН в данном случае не используется, а вместо него в трубах устанавливается один и три электрода. Количество элементов зависит от вида котла (однофазный или трехфазный). Когда данная конструкция подключена к питанию, в трубе начинает происходить обмен ионов, при котором нагревается теплоноситель. Как результат,
трубы и радиаторы получают необходимое тепло. Посмотрев чертежи котла, вы сможете визуализировать принцип действия данного устройства.
Принцип работы электрокотлов мы выяснили. Теперь пришло время сборки:
- Начинаем с проверки основы. Труба должна быть цельной, без каких-либо повреждений. Если в некоторых местах проступает ржавчина, ее необходимо очистить.
- Возьмите 2 болта и приварите их к трубе. Они нужны для подключения электричества (ноль и заземление).
- Далее необходимо приварить выходные патрубки, меньше по размеру. Это позволит в дальнейшем подключиться к отопительной системе.
- Нужно подсоединить входной и выходной патрубки. Расположение первого должно быть внизу, а второго — вверху.
- Сделайте верхнюю и нижнюю крышки. При работе с верхней не составит труда ее приварить или сделать открываемой. А вот в нижнюю крышку нужно будет вставить электрод. В дальнейшем облегчит использование котла, если вы сделаете ее съемной. Это позволит без особых усилий произвести удаление и замену электрода.
- Электрод не должен соприкасаться с нижней крышкой и стенками труб из меди или
полипропилена. Поэтому придется воспользоваться специальными изоляторами.
Вся процедура только на первый взгляд кажется невыполнимой, но если человек ставит перед собой цель и имеет умелые руки, задача перестает быть непосильной. Завершающим этапом будет установка электрического котла. Выполняется монтаж следующим образом: электрический котел необходимо закрепить в вертикальном положении. Далее нужно выполнить подключение котла к отопительной системе. На завершающем этапе проверьте оборудование на герметичность. Все, можно выполнять электрическое подключение.
gidpopechi.ru
Как сделать электрокотел своими руками?
Отопление является одной из важнейших систем, которые предусмотрены в доме. Особенно если в нем постоянно проживают люди. Многие для создания комфортных условий ставят автономное отопление. Чтобы сэкономить на приобретении агрегата можно сделать твердотопливный или электрокотел своими руками. В последнее время все чаще владельцы домов и квартир выбирают установки именно на токе. Это связано с массой достоинств оборудования.
Содержание статьи:
Особенности
Все больше людей стремится покинуть крупные города и жить за чертой в частном доме. При этом в таких помещениях обязательно должны быть основные системы. Одной из которых является отопление. При этом заводить централизованное – нет смысла, так как автономное в любом случае будет выходить дешевле во время эксплуатации. Единственное – первоначальное оборудование обойдется в определенную сумму.
Многие специалисты считают, что одними из самых экономичных устройств считаются газовые котлы. Но это возможно только, когда недалеко от строения идет газовая магистраль. При этом важно отметить, что использование сжиженного энергоносителя в баллонах значительно снижает безопасность и ту же экономичность.
Подключение твердотопливных установок для отопления частного дома также имеет, как плюсы, так и минусы.
Одним из основных плюсов, которым обладают электрические агрегаты – доступность энергоносителя. Ток сегодня есть практически в любом загородном поселке. К тому же его подвести к своему участку гораздо легче, нежели газовую трубу. А потому этот вид обогрева для многих является очевидным выбором.
Сегодня на рынке можно найти любой подходящий электрокотел для отопления дома, ведь существует масса моделей. Но иногда встречаются ситуации, когда есть необходимость экономии средств. При этом речь идет не об операционных расходах, а разовых, которые нужны в момент покупки.
Чтобы сохранить деньги электрический котел отопления можно сделать самостоятельно. Конечно же для этого необходимо иметь некоторые знания в области сборки электрических приборов. С покупкой всех отдельных компонентов проблем не будет – все можно найти в специализированных маркетах.
Виды
Электрокотлы делятся на несколько видов. Нам интересно самостоятельное создание, а потому говорить мы будем только о двух, так как их создать проще остальных. Итак, самодельные установки бывают ТЭНовыми и электродными.ТЭНовые
Они представляются собой агрегат, состоящий из множества элементов, одним из которых является соответствующий нагреватель. Именно с помощью него и происходит преобразование электроэнергии в тепло. Элемент помещается в специальный корпус. При этом подсоединяется к регуляторам, датчикам и другим компонентам, которые необходимы для правильного функционирования обогрева.

Если при создании отопления своими руками были установлены трубы с толстыми стенками – есть вариант размещения ТЭНа непосредственно на них. Такая конструкция обладает рядом недостатков. Часто нагревательный элемент устанавливается в виде запасного варианта отопления в случае, когда основной по каким-то причинам перестал работать. Такой самодельный электрокотел для отопления может просто поддерживать минимальную температуру теплоносителя. Или же установка будет работать в полную силу, обогревая все помещение.
Еще один вариант – электродный котел своими руками со съемной трубой. По большому варианту этот механизм имеет такую же конструкцию. При этом позволяет быстро снять и поменять нагревательный элемент в случае его поломки. Такой механизм считается сложным, но более универсальным.
Схема электрического ТЭНового агрегата выглядит так:

- Труба для выхода жидкости.
- Каркас.
- Нагреватель.
- Труба для входа воды.
- Фланец с прокладкой.
- Поддон.
- Фланец нижний.
- Нижняя часть поддона.
- Крышка корпуса.
- Подключение провода.
- Прокладка.
Электродные
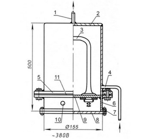
Самодельный электродный котел, как и предыдущий вариант имеет плюсы и минусы. Так, например, размеры позволяют установить его практически в любой точке системы. Устройство схематически выглядит так:

Для начала выполнения работ, нужно детально изучить схему агрегата:
где:
- Труба из железа без шва, диаметр которой составляет 57 мм.
- Покрытие краской, выдерживающее сильные и резкие перепады температуры.
- Патрубки на вход и выход. Диаметр 32 мм.
- Заглушки
- Электрод с диаметром в 25 мм.
- Клеммы с резьбой М6.
- Резиновая прокладка.
Сборка
После того, как появилось общее понимание, электродный котел можно собирать своими руками. Для этого нужно все делать по инструкции:
- Разметить трубы для патрубков и корпуса. Сделать все необходимые разрезы. При помощи пилы произвести сферические выборки. Это обеспечит хорошее прилегание к поверхности корпуса. В местах приварки патрубков нужно сделать отверстия.
- Во время создания электрического котла отопления далее нужно нарезать все необходимые резьбы при помощи соответствующего оборудования. Или просто обратиться в мастерскую. Здесь же можно сделать втулку, заглушки и электрод.
- Далее при создании котла отопления своими руками необходимо качественно приварить патрубки и клеммы, которые нужны для проводов.
- Установить электрод. Закрутить и затем затянуть две заглушки.
- Далее электродный котел своими руками можно покрыть эмалью, которая выдерживает температуру до 120 градусов.
- После этого проверяются все сварные швы.
Что ж, электрический агрегат, несмотря на свою непростую конструкцию, можно собрать дома своими руками. Для этого необходимо обладать определенным оборудование и навыками работы с металлом. Важно подчеркнуть, что сегодня такие установки стоят сравнительно небольших финансовых средств. При покупке готового изделия можно быть уверенным, что продавец предоставит гарантии. Также нередко установка электрического котла осуществляется возможностями магазина. Это исключит вариант совершения ошибки со стороны владельца, приводящей к поломке.
znatoktepla.ru
Самодельный электрокотел для отопления – разные варианты

Конструкция из листа нержавейки
Несмотря на огромное разнообразие видов и моделей котельного оборудования, желание сделать отопительный прибор самостоятельно, своими руками, не покидает русских «самоделкиных». Не останавливает домашних мастеров даже тот факт, что самодельный электрокотел в случае ошибок во время проектирования и монтажа может стать источником серьезной опасности. Рассмотрим, как можно сделать недорогой и безопасный котел своими руками.
Электрический и твердотопливный
Существует несколько разновидностей котельного оборудования, отличающегося, в первую очередь, по типу используемого топлива. Наибольшую популярность получили:
- Электрический.
- Твердотопливный (пеллетный) котел.
- Газовое оборудование.
Пеллетный
Несмотря на то, что в последние годы проходит практически повсеместная газификация, оборудование, работающее на газу, все же редко устанавливается в сельской местности. Основная область его применения – городские квартиры и загородные коттеджи, близкие по комфортности проживания к условиям мегаполиса. В деревнях чаще устанавливают твердотопливное оборудование – дровяной, пеллетный либо угольный котел.
Важнейшее преимущество, которое отличает твердотопливный (пеллетный или дровяной) котел отопления – дешевизна и простота эксплуатации. На селе дрова по сей день остаются самым дешевым топливом, а вероятность проведения газа в отдаленные уголки страны пока еще остается практически в области фантастики.
Электрический
Электрический котел отопления имеет массу достоинств, но все их перекрывает один существенный минус – высокая эксплуатационная стоимость. В некотором роде недостатками оборудования можно также считать:
- Энергозависимость системы. Отключение электроэнергии приведет к негативным последствиям для всей сети отопления, а не только для самого прибора. Для минимизации риска размораживания системы в случае отключения электроэнергии потребуется дополнительная установка аварийного генератора.
- Электросеть должна быть способной выдержать существенно увеличивающуюся нагрузку. Возможно, потребуется проведение дополнительной линии. Обязательно потребуется установить отдельный автомат.
- Подключение прибора должен осуществлять квалифицированный электрик. Непрофессиональный монтаж опасен для жизни.
По принципу работы выделяют электродные и ТЭНовые электрокотлы. Останавливаться на первых мы не будем, так как сконструировать и смонтировать подобный прибор крайне сложно. Рассмотрим подробнее ТЭНовые устройства.
Нагрев в таком котле осуществляется в трубчатом нагревателе. От него тепло передается теплоносителю, циркулирующему в системе. В качестве теплоносителя можно закачать воду или антифриз.
ТЭНовый котел своими руками

Отличия между ТЭНовым и индукционным
Для электрического котла отопления ТЭН является основным элементом. Без него невозможно преобразование электрической энергии в тепловую. Нагревательный элемент помещается в корпус и подключается к регуляторам, датчикам, платам управления и другим дополнительным узлам, призванным облегчить эксплуатацию оборудования.
При наличии в доме системы с трубопроводом, имеющим толстые стенки, ТЭН можно установить непосредственно в него. Труба будет выполнять роль корпуса. Такая конструкция имеет ряд недостатков, но она имеет право на существование. Очень часто ТЭН устанавливается в систему отопления в качестве аварийного источника тепловой энергии. В случае, если основной котел по какой-либо причине перестает работать, можно просто подключить ТЭН, который будет нагревать теплоноситель. В зависимости от конкретной ситуации, ТЭН может нагревать воду до минимальной температуры, чтобы не допустить лишь размораживания системы либо он может работать в полную мощность, обеспечивая теплом весь дом.
Еще одна распространенная конструкция – вариант со съемной трубой. В целом, она похожа на предыдущий вариант, но позволяет быстро снять и заменить ТЭН в случае его выхода из строя, необходимости ремонта и т. д. В изготовлении такая конструкция сложнее, но по сравнению с предыдущей она универсальна.
Чуть сложнее…

Чертеж самодельного котла
Несмотря на наличие альтернативных способов использования электроэнергии в системах отопления, лучшим вариантом все же остается полноценный котел. Корпус котла лучше всего делать из стали. Этот выбор оправдан с точки зрения безопасности, долговечности конструкции, а также простоты изготовления. Создать корпус можно с помощью обычного сварочного аппарата. Никаких серьезных специальных навыков такая работа не потребует.
Не стоит делать корпус больших размеров. Чем компактнее габариты котла, тем эффективнее он работает. Что делать, если дом большой и потребуется агрегат, мощность которого позволит нагревать большое количество воды? Отказаться от электрокотла в пользу другого типа оборудования. Электрические приборы подходят для обогрева небольшого дачного дома, но при обогреве коттеджей большой площади они будут далеко не самым лучшим выбором.
Корпус может иметь любую форму, но он должен быть герметично заварен с двух сторон. С двух сторон выполняется два отверстия. Через одно теплоноситель подается в систему, через другое остывшая вода поступает в котел.
ТЭН

Виды ТЭНов
Самая большая сложность при изготовлении электрокотла отопления – правильно выбрать ТЭН. Его мощности должно хватать для нагрева теплоносителя и воды в системе ГВС (при необходимости ее обустройства). Мощность подбирается на основе проведенных расчетов. При проектировании системы подачи горячей воды лучше выбрать ТЭН с большими мощностными показателями.
В корпус ТЭН устанавливается на нижней крышке, напротив отверстия, через которое к нагревателю подается остывший теплоноситель. В трубопроводе рядом с котлом стоит установить запорную арматуру, чтобы обеспечить ремонтопригодность прибора. Запорная арматура позволит отключить при необходимости котел без слива воды из системы. Как правило, системы отопления с электрокотлом делают с принудительной циркуляцией, что потребует еще и подключения насосного оборудования.
Электрощит
Работа электрооборудования обеспечивается за счет энергии электросети. Для подключения самодельного прибора к последней потребуется сконструировать электрощит. Обязательно потребуется подключить трехфазный ввод. Эту часть работы лучше доверить квалифицированному электрику, так как цена ошибки несоразмерно высока.
В металлическом щите устанавливается пускатель, автоматика, реле, элементы управления электроприбором. Система обязательно заземляется. Эффективность заземления должна проверяться ежегодно сотрудниками специализированных организаций. Полученные замерами данные обязательно фиксируются в протоколе. Простейший способ выполнения заземления выглядит следующим образом. Под полом размещается конструкция из болта, приваренного к металлическому штырю. К болту прикручивается электропровод, идущий от щита. Как видим, все просто.

Электрощит заводской
Электросхема прибора будет включать в себя следующие элементы:
- Автомат.
- Магнитный пускатель.
- Кнопки управления.
- Тумблер и реле.
- Предохранители.
- Термодатчики.
- Дополнительную автоматику (при необходимости).
После подключения к электросети можно сделать первый запуск котла и тестирование системы.
Заключение
Как видим, сделать электрокотел своими руками совсем несложно. По сути, помощь специалиста потребуется только при установке электрощита. Все остальные работы легко выполняются самостоятельно и не требуют никаких специальных навыков. Несмотря на простоту работы, специалисты рекомендуют не экспериментировать и приобрести готовую промышленную модель. Подобрать подходящий, в том числе и по ценовому параметру, вариант несложно, но надежность и безопасность подобных конструкций в разы выше, чем «самоделки».
Похожие записиКомментарии и отзывы к материалу
У вас должен быть включен JavaScript для отображения комментариев.gidotopleniya.ru
Электрокотел своими руками из стальной трубы либо из чугуна
После того как вы завершите строительство дома или же прибегнете к его внутреннему или внешнему ремонту, необходимо позаботиться о том, чтобы все необходимые коммуникации были проведены в нем и функционировали максимально правильно. Некоторые при этом пытаются еще и сэкономить. Поэтому большая часть работ по ремонту и проводке осуществляется не профессиональными мастерами, а самоучками, которые отдаленно ознакомлены с нюансами и тонкостями выполнения тех или иных мероприятий.

Отопление загородного дома необходимо для комфортного проживания, а так же для поддержания здорового состояния организма.
Они касаются и водопровода, и телефонных линий, и системы отопления, и многого другого. Чаще всего такая необходимость возникает тогда, когда дом располагается где-то в отдаленной части города или же за его чертой. В некоторых поселениях нет даже центрального водоснабжения, поэтому многим домовладельцам приходится использовать альтернативные методы. Самым распространенным и подходящим является возведение колодца на территории участка и установка на него насоса, который будет доставлять воду в дом.
То же самое касается и системы отопления. Нередко случается так, что магистральный газ оказывается не подведен к дому на этапе завершения его строительства. В таких случаях существует несколько решений проблемы. Одним из них является приобретение комбинированного напольного котла со сменными горелками. На первое время можно приобрести не газовую, а дизельную горелку. В некоторых случаях для отопления используется возведение своими руками дровяной печи, но она занимает много места, да и потом придется достаточно долго и сложно его демонтировать. Не все гладко складывается и с комбинированными котлами, так как они продаются без горелок, а приобретение их порой требует таких же вложений, как и обычный котел с атмосферной горелкой. Для того чтобы сэкономить, некоторые умельцы предпочитают не покупать, а делать электрокотел своими руками. Несмотря на кажущиеся сложности, если вы разберетесь, то сможете осуществить данное мероприятие.
Как своими руками сделать электрокотел для отопления дачи?

Схема подключения электрического котла.
Итак, если у вас есть загородный дом, то в нем обязательно должно быть тепло. Ведь мало кто согласится не то чтобы жить, но и время от времени ночевать в холодном помещении. От этого оно становится неуютным и даже небезопасным для здоровья. Связано это с тем, что в неотапливаемом помещении наблюдается повышенная влажность, что приводит к тому, что некоторые детали интерьера начинают сыреть. А данные условия являются самыми подходящими для того, чтобы образовался грибок. Соответственно, он начнет отрицательно сказываться на самочувствии домочадцев. Поэтому ни в коем случае нельзя оставлять дом (даже если вы в нем не живете постоянно, а приезжаете туда только на выходные) без того или иного прибора отопления или оборудования, позволяющего обогреть дом хотя бы до нормальной, средней комнатной температуры.
Чаще всего для дачных домиков приобретаются небольшие электрокотлы, которые входят в категорию эконом-класса, позволяют использовать себя практически в любом помещении, так как являются переносными. Но даже среди них можно запутаться и с трудом выбрать именно тот электрокотел, который по своим техническим характеристикам позволит на должном уровне осуществлять обогрев того или иного помещения. В специализированных магазинах вы можете встретить огромное количество проводных и беспроводных электрических котлов.
Некоторые из них работают с помощью пульта дистанционного управления, другие регулируются при помощи компьютера. Но и это еще не все, так как количество функций того или иного электроприбора увеличивается прямо пропорционально его стоимости. Естественно, что дешево перечисленные выше приборы стоить не могут, поэтому они не подойдут тем домовладельцам, которые желают сэкономить на отопительной системе дома, не являющегося постоянным местом их проживания.

Электрические котлы отопления работаю в автономном режиме.
Наиболее подходящим в данном случае вариантом станет конструирование и создание электрокотла своими собственными руками. Решением проблемы может стать создание электрического котла, который будет использоваться для нагрева воды, а от него уже по радиаторам тепло будет распространяться по всем комнатам того или иного дома. Электричество станет самым оптимальным решением, так как связано это все с той же проблемой, что и раньше, - с тем, что в отдаленных населенных пунктах частенько можно встретить дровяную печь для отопления дома, но не всегда там можно найти газовый и электрический котел. А вот электричество доступно практически на всей территории нашей страны. Единственное, с чем могут возникнуть проблемы, так это с тем, что в маленьких деревнях и даже в селах сложно отрегулировать электропровод в случае его повреждения.
Итак, вопрос с тем, какой именно прибор выбрать для отопления, решился сам собой. Вам нужен электрический котел, точнее его бюджетный вариант, который вы сможете сделать своими руками.
Ведь даже при интенсивном его использовании счет за электричество не достаточно сильно будет отличаться от возможного счета за газ. Да и вопрос, связанный с безопасностью эксплуатации данного оборудования, не станет камнем преткновения, который сможет отрицательно повлиять на выбор именно электрического котла. Ведь использовать прибор, работающий от точки электропитания в вашем доме, намного безопаснее, нежели газовый котел.
Из чего состоит электрокотел?

Схема устройства электрокотла.
Основной частью каждого электрического котла, на которой и основывается принцип его действия, является ТЭН. Именно данная деталь позволяет электрической энергии трансформироваться в энергию тепловую. Что же касается корпуса котла, то он может быть изготовлен практически из любого жаропрочного материала. Существует несколько вариантов, которые подойдут для того, чтобы обеспечить работоспособность электрических котлов. К ним относятся даже обыкновенные стальные трубы, и чугун, и любой плотный стальной короб. Если вы рассчитываете на то, что электрокотел должен прослужить вам как можно больше, то лучше использовать чугунный корпус. Он практически не подвергается коррозии, которая сопровождает каждое нагревательное оборудование, плюс ко всему, данный материал не позволяет саже скапливаться на его стенках. Единственное, что может стать причиной отказа от чугунного котла, так это то, что материал этот недостаточно стойкий к разного рода механическому воздействию. Так что если вы намерены постоянно передвигать электрокотел, то лучше использовать сталь.
Многие отказываются от данной идеи из-за того, что считают сталь недостаточно прочной, но стоит заметить то, что это возможно лишь при неправильной эксплуатации прибора. Допустить это довольно-таки сложно, поэтому если вы планируете постоянно следить за состоянием вашей отопительной системы, то выбирать стальной корпус для электрического котла можно абсолютно спокойно. Помимо ТЭНов, в котлах должны присутствовать и другие, дополнительные элементы, например, расширительный бак, датчики, циркуляционный насос, фильтры и клапаны.
Основные тонкости в создании самодельного электрокотла
Самое главное, что нужно постараться осилить, так это электрическую сторону данного прибора, ведь с конструкторской сможет справиться абсолютно любой. Тогда как сделать правильную электрическую цепь своими собственными руками не каждый сможет, а тем более обеспечить те условия, которые необходимы для полноценной и эффективной работы будущего котла.
Итак, если котел работает на альтернативном топливе, то никаких особых сложностей в процессе нагрева воды возникнуть не должно. С этим справится ТЭН, проходя мимо которого, вода будет нагрета до необходимой температуры. Что касается способа «прохождения» воды по котлу, то процесс этот может быть осуществлен несколькими способами. На данный момент все чаще и чаще в электрических котлах для этих целей устанавливаются циркуляционные насосы, но существует и консервативный способ, при котором вода циркулирует здесь естественным образом. Именно данный вариант станет наиболее подходящим для оснащения котла, устанавливаемого в жилом доме. Ведь в процессе работы насоса вода по радиаторным трубам гонится с таким напором, что от нее исходят всевозможные шумы, которые могут стать причиной беспокойства, раздражений и головных болей. Итак, это еще больше увеличивает ваши шансы сделать электрический котел экономно своими руками.
Основные варианты создания котла для отопления своими руками
Для того чтобы сделать котел, не обязательно делать какие-то специальные расчеты, создавать чертежи и так далее. В большинстве случаев все это уже давным-давно кем-то разработано, поэтому если вы покопаетесь в соответствующих материалах, то наверняка найдете чертежи, которые могут быть использованы и в вашем конкретном случае.
Существует несколько способов конструирования котла. Самый простой предусматривает такой вариант, при котором ТЭН монтируется прямо в электрическую отопительную систему. Здесь вам даже не понадобятся чертежи, так как достаточно будет найти в доме самую плотную трубу и врезать в нее ТЭН. Помимо этого способа, существует еще и тот, что предполагает использование съемной трубы отопления. Этот вариант станет наиболее подходящим в том случае, когда вам время от времени нужно будет снимать ТЭН, для того чтобы очистить, отремонтировать или заменить его.
Но наиболее подходящим и практичным вариантом станет создание настоящего, отдельного котла, пусть и небольших размеров. Такой котел лучше сделать из стальной трубы, при этом стоит учитывать тот факт, что эффективность работы такого котла будет находиться в обратно пропорциональной зависимости от его размеров. Иными словами, чем меньше у вас получится котел, тем он эффективнее будет работать. Связано это с тем, что вам не придется нагревать лишнюю воду и, соответственно, тратить на потраченную электроэнергию ваши деньги. Такой котел, диаметром не более 50 см, будет способен обогреть дом, состоящий из 2-3 комнат среднего размера.
Эта труба с обеих сторон заваривается электрической или газовой сваркой, для того чтобы обеспечить максимальную герметизацию и изоляцию. Для этого вам понадобятся своеобразные крышки, одна из которых будет с отверстием. Именно через него в радиаторы из котла будет осуществляться подача горячей воды. А в нижней части трубы отверстие нужно для подвода в него холодной воды, которая потом будет нагрета. Таким образом, электрокотел делается своими руками либо из стальной трубы, либо из чугуна.
Поделитесь полезной статьей:
Topfazaa.ru
Как собрать самодельный электрокотел для отопления и какие его преимущества?
Для частного дома очень важно оборудовать эффективную систему теплоснабжения. А для этого необходим современный нагревательный котел. Агрегат может работать на газе, твердом топливе либо электроэнергии. Но чаще всего владельцы загородных построек останавливают свой выбор именно на электрокотлах. Это достаточно экономный вариант. Да и к тому же электрический котел отопления своими руками соорудить не представляет особого труда. О том, как смастерить электрокотел для обогрева дома, расскажет данная статья.
Что представляет собой электрокотел?
Котел – это по сути металлический резервуар с тепловым электронагревательным элементом. Смастерить самодельный электрокотел для отопления просто. Главное владеть определенным уровнем знаний, иметь нужные материалы, инструменты и грамотно составить схему. Форма самодельного котла может быть произвольной. Чаще всего используют электрокотлы 220 в. Но иногда устанавливают и более мощные агрегаты. Например, электро котёл отопление 380 в позволит увеличить отапливаемую площадь.
В чем преимущества самодельного электрокотла?
Если есть определенный уровень знаний и необходимое оборудование и материалы, электрический котел отопления самодельный – это отличный вариант для экономии финансовых средств. Ведь стоимость подобного оборудования нельзя назвать низкой. В среднем электрокотел тэнового типа обойдется не менее чем в 100 долларов. А вот если сделать его самостоятельно, затраты составят всего 40 долларов.
Цена электродного нагревателя составляет не менее 150 долларов. Смастерить его своими руками можно вообще за копейки. Так что самодельный агрегат в любом случае обойдется дешевле.
Функциональность самодельного электрокотла не будет уступать приборам, изготовленным на производственных площадках.
Что нужно для самодельного электрокотла?
Прежде чем смастерить электрический котёл отопления для дома своими руками необходимо определиться с типом устройства (тэновый или электродный), а также подготовить все необходимые инструменты и материалы. Но если есть сомнения в знаниях и возможностях, то за работу лучше не браться. Малейшая ошибка может стать причиной того, что аппарат будет недееспособным либо будет спалена вся проводка в доме.
Чтобы создать электрический котел своими руками, понадобятся такие инструменты и материалы:
сварочное оборудование, желательно инверторного типа;- большая и маленькая болгарки;
- электроды;
- диски по металлу, шлифовальный диск;
- молоток;
- рулетка, мел, маркер;
- стальная труба толщиной не менее 3 мм и диаметром 219 мм;
ТЭНы;- фум лента для герметизации резьбовых соединений;
- металлический лист в 5 мм толщиной;
- штуцера под манометр и термометр.
Алгоритм того, как сделать электрокотел для обогрева жилища:
Вырезать из трубы отрезок 500 мм длиной.- Сделать в отрезке два отверстия (на одной стороне либо на противоположных) под трубу 25 мм.
- Вырезать отверстие сбоку снизу для установки ТЭНа.
- Приварить к полученному отверстию трубу (диаметр 50 мм) с внутренней резьбой.
- Взять трубу 25 мм и сделать из нее пять отрезков по 5-10 см (два будут использоваться для патрубков системы теплоснабжения, три – для ножек котла).

- Вырезать из листа металла два блина диаметром в 231 мм. Один блин следует приварить с одного края электрокотла. Второй будет использован в качестве верхней крышки агрегата, поэтому в нем нужно сделать два отверстия под штуцера манометра и термометра, и приварить к котлу.
Схема обвязки котла
Прежде чем подключить оборудование, необходима схема обвязки электрического котла отопления дома. Главное в данной схеме – наличие электропитания. Просчитывается она в зависимости от предполагаемой системы теплоснабжения (двух либо одноконтурной) и мощности котельного аппарата. Надо сказать, что схема подключения электрического котла отопления чем-то схожа с установкой газовых приборов. Но имеет ряд отличий.
Важно помнить о некоторых моментах, которые влияют на качество и надежность работы обогревательного оборудования, чтобы избежать частых поломок во время эксплуатации.
Надо сказать, что обвязка электрического котла отопления – это его подключение к системе теплоснабжения. Для этого используются специальные элементы. При обвязке надо учитывать способ циркуляции теплоносителя по контуру. Электрокотел нужно монтировать в самой нижней точке конструкции. Это необходимо для того, чтобы обеспечить максимальный прогрев всех радиаторов. Нагнетающая труба должна располагаться над батареями на минимальной высоте.
Для установки ТЭНа, его нужно просто вкрутить по резьбе. Чтобы стык был герметичным, следует воспользоваться прокладками из жаростойкой резины. Манометр и термометр также устанавливаются достаточно просто. Подключать ТЭН к сети питания лучше через отдельный автомат в распределительном щитке. В завершении следует протестировать установку на наличие неисправностей. Для этого обогревательный контур нужно заполнить водой и включить ТЭН.
Таким образом, разработав на электрический котёл отопления своими руками чертежи, подготовив все необходимые инструменты и материалы, можно легко смастерить надежный отопительный агрегат. В итоге будет получен эффективный обогрев частного дома при минимальных затратах финансовых средств.
spetsotoplenie.ru
Электрокотел, собранный своими руками для отопления, самодельный электрический агрегат
Сделать электрокотел своими руками — значит хорошо сэкономить семейный бюджет. Во-первых, его производство почти в 3-4 раза дешевле покупки и установки заводского отопительного прибора. Во-вторых, вы сами можете регулировать отапливаемую площадь дома с точностью до квадратного метра.
Но вместе с тем самодельные электрокотлы представляют опасность как для самих хозяев жилья, так и окружающих – при неправильном изготовлении или подключении такие агрегаты вызывают взрыв или пожар.
Принцип работы
Котел обеспечивает равномерный нагрев воды в системе отопления за счет преобразования получаемой электрической энергии в тепловую.

Главный игрок в этом процессе – трубчатый электронагреватель или ТЭН. Его можно установить в котел одним из двух способов.
Способы
Первый вариант – встраивание в отопительную систему. Такой котел может стать как основным агрегатом, так и вспомогательным. Для того, чтобы он служил верой и правдой долгие годы и не было необходимости вырезать котел для обслуживания, предусмотрите возможность безопасного съема. Но практичнее для дома – установка отдельностоящего агрегата.

Преимущество метода очевидно – ремонтные работы проводятся без нарушения целостности системы, и способ также позволяет установить датчики регулировки, без которых невозможно управлять отоплением дома в зависимости от погоды и наружной температуры.
Простейшая конструкция
Электрический котел собственного производства – обычно простая конструкция. Она состоит из нескольких обрезков труб и трехфазного ТЭНа. Сделать его, как правило, тоже просто.
Нам потребуются болгарка, сварочный аппарат, трубы, болты, стальной лист толщиной от 2 мм и несколько ручных инструментов. В первую очередь, необходимо купить ТЭН необходимой мощности. Ее можно рассчитать, исходя из мощности и площади отопления фабричных котлов.

Затем подбираем стальную трубу рекомендованным диаметром 219 мм размером около 0,5 м, чтобы спрятать нагревательный элемент. Если подходящего размера нет, то обрезаем трубу болгаркой до нужного размера. Верхнюю часть необходимо пометить отверстием диаметром около 50 мм. Через него будет поступать горячая вода для отопительной системы.
Сварочные работы
На следующем этапе задействуем сварочный аппарат любого типа. К торцам трубы для ТЭНа привариваем стальные листы, а сбоку у верхнего и нижнего краев – отводы подсоединения к системе отопления. К одному из торцов подобранной трубы приваривается гайка, в которую затем вкручивается трехфазный нагревательный элемент.

К трубе, которая подает охлажденную воду, монтируется насос циркуляции воды. Довершают конструкцию шаровые вентили для перекрытия воды без необходимости частого слива из системы.
Процесс изготовления котла для частного дома мог бы считаться законченным, однако еще нужно сделать комплекс мер для обеспечения безопасности, который для самодельного агрегата — обязателен.
Собираем электрощит
В некоторых случаях выполнение ремонта котла или отопительной системы требует применения электроинструмента. Поэтому обесточивание автоматических пробок на счетчике крайне нежелательно. Большинство бытовых автоматов не рассчитано на трехфазное напряжение. Да и трехфазное подключение выполняется отдельно. Так что для управления самодельным котлом нужен электрощит. Он представляет собой металлическую конструкцию, в которой спрятана большая часть проводки, тумблеры, реле управления, кнопки регуляции и т.п.

Если отопительный котел можно собрать самостоятельно, то устройство электрощита необходимо доверить опытным электрикам. Щит тоже должен быть заземлен конструкцией из провода и болта. После окончания монтажа дверь электрощита с предупреждающими записями запирается на замок. Ключ от него должен храниться в недоступном для детей месте.
Легализация и безопасность
Надо отметить, что самодельные электрические котлы не приветствуются РЭС. Главные аргументы против народных умельцев – неизвестны источники получения деталей для такого оборудования, а соответственно нет гарантий надежности контроля и отопления. К тому же, у таких агрегатов нет паспорта и других документов. А значит, в случае пожара из-за него могут возникнуть проблемы с получением страховки.

Поэтому существует необходимость перехода дома на трехфазный учет электроэнергии и обеспечения максимальной безопасности работы. Рассмотрим способы, как это сделать.
Так, накануне подключения котла тщательно изучите схему соединения электропроводов в трехфазной сети. Распространены обычно две схемы – звезда и треугольник. Каждая фаза имеет свой диапазон рабочих напряжений. Если в гнездо для фазы с большим рабочим напряжением подсоединить провод меньшего тока, то он быстро перегорит и вызовет короткое замыкание.
Обязательные требования
Как и твердотопливный котел, такой агрегат нужно располагать в отдельном помещении. Трехфазное напряжение достигает 400 В. Открытые электроды ТЭНов должны быть укрыты нетокопроводящим защитным кожухом. Он должен защищать котел от несанкционированного доступа: любопытства детей и животных, но в то же быть время легким в демонтаже, чтобы в случае необходимости провести профилактическое обслуживание.

На корпусе котла обязательно наличие болта для крепления заземления, чтобы излишки напряжения уходили в землю. Для продления срока службы нагревательного элемента трубу следует располагать ТЭНами вниз. Тогда нагрев будет равномерным, особенно при отсутствии циркуляционного насоса, гоняющего воду по системе.
Защиту от перегрева помещения, да и самого котла обеспечит термодатчик. Его устанавливают максимально близко к котлу и программируют в нужном режиме: время года, половина суток, день недели и т.п. Как правило, датчик снабжен табло и клавиатурой для упрощения управления.

Качество работы заземления ежегодно проверяется специальной комиссией. Результат фиксируется в протоколе. При ухудшении показателей принимаются меры по замене заземлителя.
Советы по экономии
В завершение хотелось бы дать совет, как сэкономить на электроотоплении. Для этого установите многотарифный счетчик. Ночью электричество тарифицируется намного дешевле, поэтому агрегат может в это время работать на максимальном режиме. А днем переключайтесь в режим минимального потребления.
Теперь вы знаете, как сделать самодельный электрокотел, а также опасности использования агрегатов, установка или создание которого проводилось с нарушениями. Если у вас нет необходимых навыков, рекомендуем обратиться к квалифицированному специалисту или приобрести легальный котел.
Оцените статью: Поделитесь с друзьями!ultra-term.ru
Электрический котел отопления своими руками
Система отопления небольшого загородного коттеджа – дело непростое. Вариантов много, но придется выбирать оптимальный. Самый экономичный и дешевый – газовый котел с трубной разводкой и радиаторами. Но не во всех загородных поселках проходит газовая труба.
Остаются другие варианты, где отдельной статьей выделяется электрический прибор, врезанный в систему водяного отопления. Готовые агрегаты стоят дорого, поэтому некоторые владельцы коттеджей стараются сделать электрический котел своими руками. По надежности и эксплуатационным характеристикам он не уступит заводским, а вот по цене в несколько раз дешевле.
Рис. 1 Электрический котел из трубыКонструктивные особенности электрических приборов
Самодельный котел – это емкость, в которую встроен ТЭН. С помощью этого трубчатого электронагревательного прибора производится нагрев теплоносителя, который заливается в систему отопления дома. Изготовить емкость можно из металлических листов толщиною 4-5 мм. Или можно использовать любой металлический резервуар определенных размеров.
Оптимальный вариант – труба с толщиною стенки не меньше 6 мм. Необходимо обратить внимание на ее размеры. Считается, что чем меньше объем нагреваемого теплоносителя, тем меньше расходов на потребление электроэнергии. Поэтому труба диаметром 219 мм и длиною 0,5 м подойдет для организации отопления в доме с двумя или тремя комнатами.
Внимание! Проводить сборку самодельного котла своими руками непросто. Здесь необходимы навыки работы со сварочным аппаратом не на уровне любителя. Прочность и надежность сварочных швов – это гарантия безопасности самого электрического прибора и системы отопления в целом.
Разновидности электрокотлов
Существует несколько типов самодельных котлов, которые отличаются способом подключения.
- Электрический мини-котел. Это труба, которая врезается в трубную разводку системы отопления в подающий контур. Ее диаметр больше диаметра труб, установленных в контуре, в 4-5 раз. В эту трубу своими руками врезается ТЭН, подключаемый к сети переменного тока. Крепление электрического мини-котла осуществляется по средству фланцев с установкой прокладок. Это делается на случай проведения своими руками ремонтных работ. Сделать такой электрический прибор самому не проблема, а, тем более, грамотно установить.
- Отдельно стоящий самодельный электрический котел. Это сложная конструкция, изготовленная из трубы и подключенная к системе отопления. В ее устройство обязательно устанавливаются приборы безопасности: манометры, термометры, отсекающие вентили.
Первый вариант может быть использован для организации отопления в небольшой даче. Второй потянет и достаточно большой дом. Все будет зависеть от того, какой мощности ТЭН будет установлен в электрическом котле. Считается, что 5 кВт – это мощность, которая может обеспечить теплом коттедж в несколько комнат. Поэтому приходится точно подсчитывать данный показатель для каждого дома в отдельности.
Рис. 2 Мини-котел из трубыСборка электрокотла
Чтобы сделать котел своими руками, необходимо к процессу подготовится.
Для этого понадобится:
- Труба диаметром 219 мм.
- Металлический лист толщиною 4-5 мм.
- Труба диаметром 25 мм и 50 мм.
- Штуцера под термометр и манометр.
- Сварочный аппарат, болгарка, рулетка, карандаш (мел), электроды.
Из трубы диаметром 219 мм вырезается отрезок длиною 500 мм. В нем с двух концов делаются отверстия под трубу 25 мм. Отверстия могут располагаться на одной стороне (по одной линии) или с двух противоположных. Второй вариант лучше, потому что эти отверстия являются местами соединения патрубков для двух контуров системы отопления: подающего и обратного. При их расположении по диагонали происходит более эффективный нагрев теплоносителя.
В самодельном приборе вырезается еще одно отверстие с боку снизу. Это место для установки ТЭНа. К нему необходимо приварить трубу диаметром 50 мм с внутренней резьбой. Если резьбу нарезать невозможно (тонкая стенка), тогда придется приварить переходник. Из трубы 25 мм вырезаются пять отрезков по 5-10 см. Три из них будут использованы для ножек электрического котла, две для патрубков системы отопления.
Из металлического листа своими руками вырезаются два блина диаметром 231 мм (это 219 мм плюс две толщины стенки трубы по 6 мм). Один из блинов приваривается с одного края будущего электрического котла. Второй необходимо предварительно подготовить. Это будет верхняя крышка прибора, поэтому в нем делаются отверстия под штуцера термометра и манометра. После чего крышку можно приварить к электрическому котлу отопления.
Рис. 3 Простейшая конструкцияПоследовательность сборки и монтаж
- В первую очередь привариваются два металлических блина.
- Ножки под электрический котел.
- Патрубки для контуров отопления и под ТЭН.
Внимание! Патрубок для обратки устанавливается своими руками выше края самодельного котла на 5-7 см. С противоположной стороны ТЭН (можно сбоку). Патрубок подающего контура отопления располагается ниже верхней крышки на 5-7 см.
Электрический котел отопления своими руками изготовлен, его можно подключать к отоплению дома. Если трубная разводка отопления состоит из металлических труб, то соединения патрубков и контуров производится при помощи газосварки. Если трубы отопления пластиковые, то на патрубки необходимо установит переходники от металла на пластик. Самому это сделать несложно.
Окончательный этап – установка своими руками ТЭНа. Он просто вкручивается по резьбе, плотно прижимаясь к краям переходника. Герметичность стыка обеспечивает прокладка из жаростойкой резины или пластика. Устанавливаются своими руками термометр и манометр.
Теперь необходимо подключить ТЭН к питающей сети. Рекомендуется это сделать через отдельный автомат, установленный в распределительном щитке. Предварительно придется позаботиться о проведении питающего кабеля от щита до самодельного котла отопления. Сделать это самому тоже несложно. Проводится тестирование установки на предмет обнаружения неисправностей и неправильной работы: отопление заполняется водой и включается ТЭН.
Если все сборочные детали были собраны правильно, надежно проведена сварка, точно подобран ТЭН, то самодельный электрический котел отопления должен работать корректно.
Статьи по теме:
Электрический водонагревательный котел
Самый экономичный электрический котел отопления
Настенный электрический котел отопления
kotlomaniya.ru











